過濾器系列
空氣過濾器
|產品介紹
空氣過濾器廣泛用于管道空氣過濾,化工廠尾氣過濾,等等。
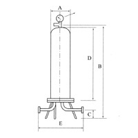
|產品結構
|產品技術參數
空氣過濾器參數材料表:| 殼體材質 | 不銹鋼 |
| 濾芯 | 不銹鋼、折疊、燒結 |
| 濾框濾網材質 | 不銹鋼 |
| 密封件材質 | 丁晴橡膠、聚四氟乙烯 |
| 工作溫度(℃) | -80~450 |
| 連接方式 | 法蘭連接、對焊連接、螺紋連接 |
| 公稱壓力(MPa) | 0.6~5.0(150Lb~600Lb) |
空氣過濾器表格計算單位:(mm)
| DN | 濾芯根數 | 濾芯長度 | A | B | C | D | E |
| 25 | 1 | 5" | 100 | / | 110 | 300 | 210 |
| 10" | 100 | / | 110 | 358 | 210 | ||
| 25 | 3 | 10" | 180 | 536 | 110 | 480 | 320 |
| 20" | 180 | 1016 | 110 | 838 | 320 |
|安裝維護
|訂貨須知
1、訂貨時請注明尺寸、操作壓力、濾芯材質、過濾介質及過濾精度。2、當需要其他標準法蘭、材質或操作壓力時請在訂貨時注明。








產品中心 
